DENISON丹尼遜4D01,4D02系列直控式電磁換向閥
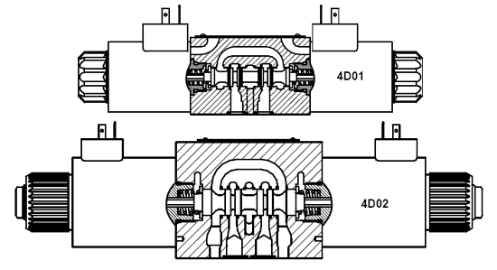
DENISON丹尼遜4D01直控式換向閥是以電磁鐵控制的,Cetop為03,最大流量為80 l/min,最大壓力為350 bar。另有:DENISON丹尼遜4D02直控式換向閥是以電磁鐵控制的,Cetop為05,最大流量為140 l/min,最大壓力為315 bar。示例型號:4D01-3201-0302-B1-G0R-G3。
DENISON丹尼遜4D01,4D02系列直控式電磁換向閥剖面圖:

DENISON丹尼遜其他換向閥:
DENISON丹尼遜4D03,4D06系列先導式電磁換向閥
DENISON先導式電磁換向閥4D03,4D06系列:
4D03 系列 (CETOP 7) - 300 l/min - 350 bar
4D06 系列 (CETOP 8) - 700 l/min - 350 bar
示例型號:4D03-3B01-0303-10A1-G0R-**。
DENISON丹尼遜4DP01,4DP02系列直控式比例換向閥
DENISON比例換向閥4DP01,4DP02系列:
CETOP:03,05。
最大流量:30,80 l/min。
最大壓力:350,315 bar。
示例型號:4DP01-3E02F20-03B1-G12-C1。
DENISON丹尼遜4DP03,4DP06系列先導式比例換向閥
DENISON丹尼遜4DP03系列先導式比例換向閥Cetop為07,最大流量為200 l/min,最大壓力為350 bar,磁滯重復性不大于5.0%。另有:4DP06型先導式比例換向閥Cetop為08,最大流量為400 l/min,最大壓力為350 bar,磁滯重復性不大于5.0%。
如需DENISON換向閥敬請聯系我們021-51082159